74712555, RE524406, RE55985, R83561, RE43131, SE500912
74712555, RE524406, RE55985, R83561, RE43131, SE500912
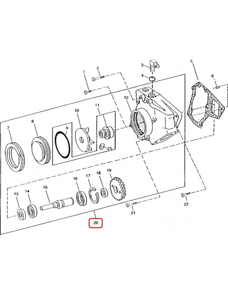
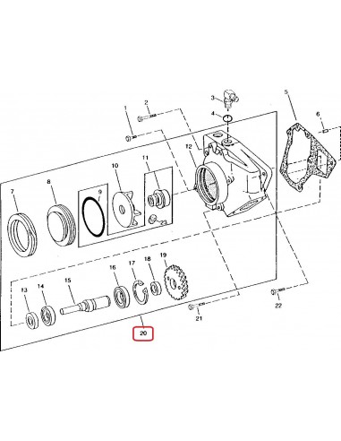
Water Pump John Deere AR93517, R83561, RE23291, RE43131, RE55985, SE500912
74712555, RE524406, RE55985, R83561, RE43131, SE500912
74712555, RE524406, RE55985, R83561, RE43131, SE500912
Water Pump John Deere AR93517, R83561, RE23291, RE43131, RE55985, SE500912

Water Pump

Granit
In Stock
1,307 Lei
Tax included

RE55985

 

John Deere 50 4050, 4050E, 4250, 4450, 4650, 4850, 8450. 55 4055, 4255, 4455, 4555 (North America), 4755 (North America), 4955 (North America). 60 4560, 4760, 4960. 9000 9500 Maximizer, 9500 SideHill, 9600 Maximizer. 9000 9950, 9960. (DSPG) 6076A, 6076T, 6466A, 6466D, 6466T

74712555
No reviews

You might also like

Comments (0)
No customer reviews for the moment.

Viewed products

Product added to wishlist
Product added to compare.

iqitcookielaw - module, put here your own cookie law text